首页
机构概况
工作动态
政策法规
办事指南
友好城市
事务公开
外事常识
在线交流
工作职能
领导信息
内设机构
直属单位
通知公告
最新消息
外事动态
侨务动态
机关动态
涉外综合
出境入境
领事常识
侨务工作
因公出访
来华邀请
为侨服务
翻译事务
领事认证
相关下载
政府信息公开
政务公开
党务公开
站内搜索:
因公出访
来华邀请
为侨服务
翻译事务
领事认证
相关下载
您的位置:
首页
> 办事指南 >
为侨服务
为侨服务
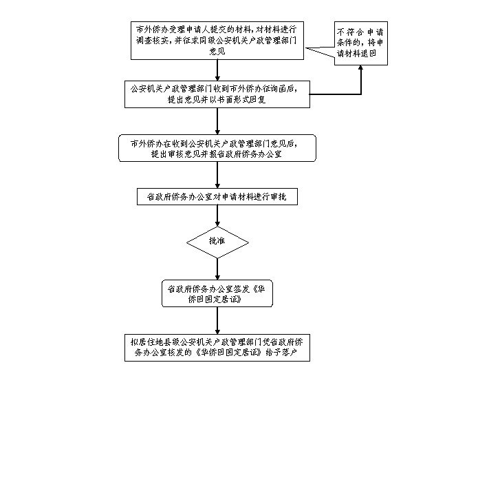
华侨回国定居审批流程图